联系电话:
400-966-9098
产品详情
产品概述
ZSJZ型水流指示器,是自动喷水灭火系统的组成部分,利用喷淋管网内水的流动推动叶片,触动微动开关,从而,将水流信号,转换成电信号与控制器连接,以启动火灾自动报警系统的一种报警装置,可用于检测自动喷淋系统运行,及确定火灾发生的区域。
工作原理及用途
ZSJZ水流指示器,用于自动喷水灭火系统,它可以安装在主供水管或横杆水管上,给出某一分区域小区域水流动的电信号,此电信号可送到电控箱,也可用于启动消防水泵的控制开关。
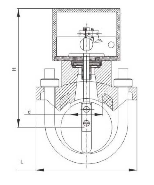
产品尺寸图

主要外形连接尺寸
型号 | DN | H | L | D | 管道开孔直径 |
ZSJZ-50 | 50 | 108 | 102 | 33 | Φ35 |
ZSJZ-65 | 65 | 123 | 118 | 33 | Φ35 |
ZSJZ-80 | 80 | 128 | 137 | 40 | Φ42 |
ZSJZ-100 | 100 | 148 | 166 | Φ42 | |
ZSJZ-125 | 125 | 155 | 194 | 40 | Φ42 |
ZSJZ-150 | 150 | 170 | 219 | 40 | Φ42 |
ZSJZ-200 | 200 | 210 | 281 | 51 | Φ53 |

:13372267205


